

长沙华保防雷技术有限公司
Changsha Hua Bao Lightning Protection Technology Co., Ltd.
作者:CSHBFL 华保防雷 发布时间:2025-03-08 21:50 点击 3337 次
三相电源防雷器:包含耐受电流能力极强的10/350μs波形产品(如CSHBFL-M275/G),用于主配电系统。是一款高性能、模块化的三相电源一级防雷器,适用于要求苛刻的防雷保护场景。
一,产品概述:
2.1高防护等级: 作为一级防雷器,冲击放电电流(Iimp)最高可达 50kA (10/350μs),能承受极其严酷的雷电流冲击。
2.2快速响应: 响应速度为纳秒(ns)级,能迅速动作将过电压泄放到大地。
2.3多种型号与配置:
规格: 提供 15kA, 25kA, 40kA, 50kA 等多种冲击电流规格。
内部结构: 分为 A型、B型 和 放电管型,满足不同工程标准和要求。
接线模式: 支持1P、2P、3P、4P、3+NPE等多种接线方式,适用单相或三相供电系统。
2.4状态监测与远程报警:
带有故障显示窗口,正常时一般为绿色,失效后变为红色,便于现场巡检。
可提供遥信报警接口,能将故障信号远程传输到监控中心,实现远程监控。
2.5优质元件与稳定性能: 内部关键元件采用优质放电管和压敏电阻组合,确保性能稳定可靠。
2.6安装维护简便:
标准模块化: 采用 35mm 标准导轨安装,安装快捷。
节能环保: 产品设计符合环保要求。
无须特殊维护: 只需定期观察故障指示窗口状态即可。
|
名称 |
型号 |
规格 |
冲击放电电流 Iimp (kA, 10/350μs) |
标称放电电流 In (kA, 8/20μs) |
电压保护水平 Up (kV) |
|
电源防雷模块 |
CSHBFL-M275/50G |
4片、10/350μs、A型 |
50 |
100 |
2.4 |
|
CSHBFL-M275/40G |
40 |
100 |
2.2 |
||
|
CSHBFL-M275/25G |
25 |
100 |
2.0 |
||
|
CSHBFL-M275/15G |
15 |
100 |
2.0 |
||
|
电源防雷模块 |
CSHBFL-M275/50G |
4片、10/350μs、B型 |
50 |
100 |
2.4 |
|
CSHBFL-M275/40G |
40 |
100 |
2.2 |
||
|
CSHBFL-M275/25G |
25 |
100 |
2.0 |
||
|
CSHBFL-M275/15G |
15 |
100 |
2.0 |
||
|
电源防雷模块 |
CSHBFL-M275/25G |
放电管型/带窗口、10/350μs |
25 |
100 |
2.0 |
|
CSHBFL-M275/15G |
15 |
100 |
2.0 |
参数说明:
Iimp (10/350μs):代表防雷器能承受一次直接雷击电流的能力,是衡量一级防雷器性能的关键指标。
In (8/20μs):代表防雷器可多次承受的模拟感应雷电流的标称值。
Up:防雷器动作后,线路上残余的电压值,此值越低,对后端设备的保护效果越好。
该产品广泛应用于易遭受直接雷击或拥有重要设备的电源系统入口处,主要包括:
通信领域: 移动通信基站、微波通信局/站、电信机房。
工业领域: 各类工业厂矿、车间配电系统。
关键基础设施: 民航、金融、证券等行业的机房。
配电系统: 各种配电站、配电房、配电柜、交直流配电屏、开关箱。
5.1安全第一,断电操作: 安装前必须切断电源,严禁带电操作。
5.2前端保护: 建议在防雷模块的前端串联后备保护器/熔断器或自动断路器,以防止防雷器失效时造成线路短路。
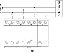
5.3正确接线:
严格按示意图连接: L1/L2/L3接相线,N接零线,PE接地线,不可错接。
并联安装: 基本采用并联方式(也可用凯文接线法以获得更好效果)。
双接线端子: 除4片A型外,其他型号通常有两个接线柱,一般情况下只需接其中一个即可,接线应短、粗、直且牢固。
5.4安装后检查: 安装完毕,合上断路器后,应检查防雷模块是否正常工作(观察窗口颜色)。
5.5定期维护: 必须定期巡检故障显示窗口。当窗口变为红色或遥信端子输出报警信号时,表示模块已损坏,必须立即更换。
安装方式: 所有型号均为 35mm 宽标准导轨安装。
模块宽度: 文中提到的4片模式(即3P+NPE或4P模式),产品单片宽度为 36mm。
如果您想了解更多关于华保防雷、防雷箱、防雷器、防雷产品、防雷知识等信息内容,请访问网址:http://www.cshbfl.com
联系我们:0731-89729721 商务支持:QQ
2632026121
转载请注明信息来源:长沙华保防雷技术有限公司
下一篇:三相电源防雷器 CSHBFL-M385/***(1P、...
相关文章